OEM Złącze koncentryczne RF 2,4 mm Supplier

Ningbo Hanson Communication Technology Co., Ltd. Dom / Produkty / Złącze koncentryczne RF / Złącze koncentryczne RF 2,4 mm

Złącze koncentryczne RF 2,4 mm

Opis:

Złącze serii 2,4 mm to złącze RF wysokiej częstotliwości przeznaczone do zastosowań wymagających dużej precyzji i wysokiej częstotliwości, szczególnie do transmisji sygnału, które wymagają zakresu częstotliwości transmisji 40 GHz lub nawet wyższej. Jest to idealny wybór do zapewnienia wysokiej jakości połączeń sygnałowych w paśmie częstotliwości mikrofalowych, szybkiej komunikacji oraz precyzyjnych pól testowych i pomiarowych.

Parametr:

Główne dane techniczne:
◆ Impedancja charakterystyczna: 50 Ω
◆ Zakres częstotliwości: DC-50 GHz
◆ Rezystancja izolacji: ≥5000MΩ
◆ Wytrzymywane napięcie dielektryczne: 500 V (rms)
◆ Współczynnik fali stojącej napięcia (VSWR): ≤1,35
◆ Cykle krycia: 500 razy

Pytać się

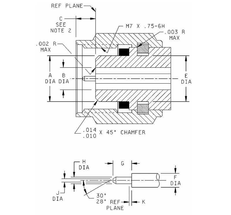
List Milimetry (cale)
Minimum Maksymalny
A 4,725 (0,186) 4,75 (0,187)
B 2,393(0,094) 2,408(095)
C 1,85 (0,073) 2,45 (0,096)
mi 4,75(0,187) 4,85(0,191)
F 1,035(.0407) 1,05 (0,0413)
G 1,34 (0,053) 1,45 (0,057)
H 0,498(0,0196) 0,523 (0,0206)
J ---------- 0,25 (0,010)
K 0,00 (0,000) 0,08 (0,003)

Uwagi:
1. Długość gwintu mierzona od końca nakrętki łączącej wynosi minimum 4,37 mm (0,172 cala), 0,63 mm (0,025 cala) ± 0,25 mm (0,010 cala).
2. Z nakrętką łączącą skierowaną do przodu.
3. Wymiary podano w milimetrach.
4. Odpowiedniki w funtach calowych podano wyłącznie w celach informacyjnych.
5. Otwór pogłębiający o średnicy minimum 7 mm (0,276 cala).

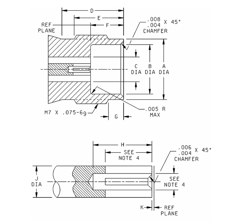
List Milimetry (cale)
Minimum Maksymalny
A 4,725(0,186) 4,75 (187)
B 2,393 (0,094) 2,408 (0,095)
C 1,85 (0,073) 2,45 (0,096)
mi 4,75(0,187) 4,85 (0,191)
F 1,035(.0407) 1,05 (0,0413)
G 1,34 (0,053) 1,45 (0,057)
H 0,498 (0,0196) 0,523 (0,0206)
J -------- 0,25 (0,010)
K 0,00(.000) 0,08 (0,003)

Uwagi:
1. Długość gwintu mierzona od końca nakrętki łączącej wynosi minimum 4,37 mm (0,172 cala), 0,63 mm (0,025 cala) ± 0,25 mm (0,010 cala).
2. Z nakrętką łączącą skierowaną do przodu.
3. Wymiary podano w milimetrach.
4. Odpowiedniki w funtach calowych podano wyłącznie w celach informacyjnych.
5. Otwór pogłębiający o średnicy minimum 7 mm (0,276 cala).

2,4 mm SERIES
  • 2,4-JB2
    2,4-JB2
    Model Typ kabla
    2,4-JB2 SFT-50-2,670-086
  • 2,4-J125
    2,4-J125
    Model Typ kabla
    2.4-J125 125
  • 2,4-J230
    2,4-J230
    Model Typ kabla
    2,4-J230 MILFLEX230

KONTAKTOWAĆ SIĘ

[#wejście#]
PRZEŚLIJ
O nas
Ningbo Hanson Communication Technology Co., Ltd.
Ningbo Hanson Communication Technology Co., Ltd.
Ningbo Hanson Communication Technology Co., Ltd. is China Złącze koncentryczne RF 2,4 mm Supplier and Custom Złącze koncentryczne RF 2,4 mm Company. We are a manufacturer specializing in the production, processing, and trade of communication components, with more than 30 years of experience in RF coaxial connectors, adapters, and cable assemblies. Obecnie firma posiada własny warsztat obróbki skrawaniem, galwanizernię, montażownię oraz grupę stabilnych i sprawdzonych dostawców. Celem firmy jest dostarczanie klientom produktów wysokiej jakości. Główne produkty to złącza koncentryczne RF, adaptery, zespoły kabli wysokiej częstotliwości i zespoły kabli o niskiej intermodulacji. Ponadto firma może świadczyć usługi dla klientów o niestandardowych potrzebach, aby spełnić specjalne wymagania klientów dotyczące produktów. Produkty firmy są szeroko stosowane w przemyśle lotniczym, komunikacyjnych stacjach bazowych, sprzęcie medycznym i innych dziedzinach zaawansowanych technologii. W czasie reformy, innowacji, rozwoju i wzrostu przedsiębiorstwa, firma podjęła inicjatywę przyłączenia się do międzynarodowego systemu zarządzania jakością ISO9001 i stale doskonaliła poziom zarządzania, aby zapewnić bardziej satysfakcjonujące produkty i usługi nowym i starym klientom.
Najnowsze wiadomości
Szukasz możliwości biznesowych?

Prośba o telefon dzisiaj